Выбор для применения сверла самореза
Выбор для применения соответствующего сверла самореза

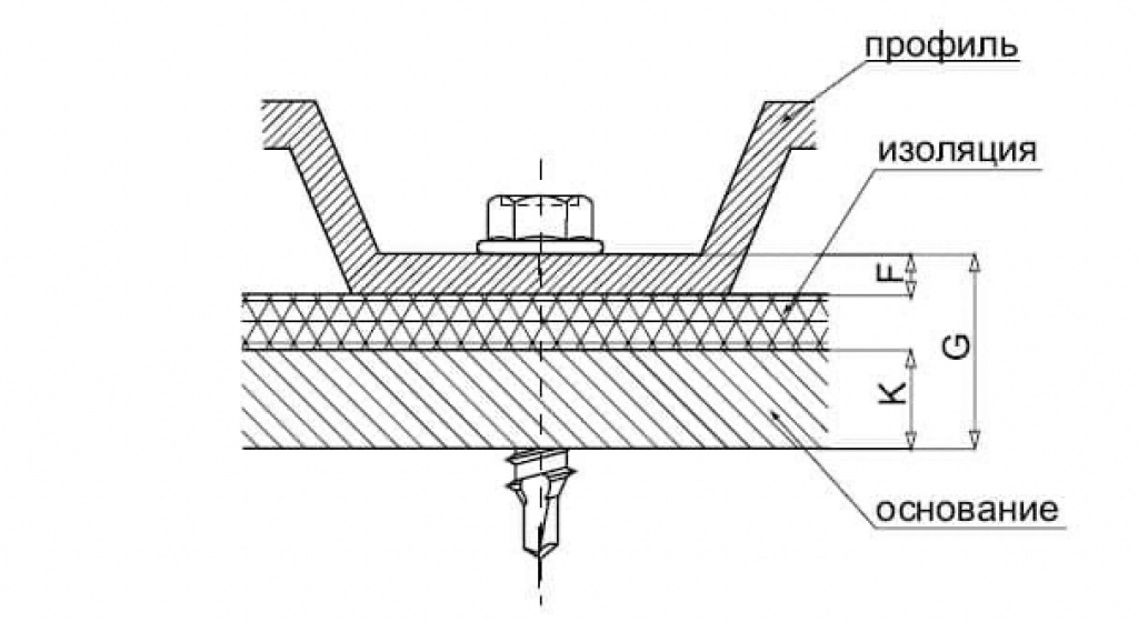
| K | F | G | |
| Обозначение | Рек. Способность сверления, мм | Мин. Толщина профиля, мм | Эффективная длина резьбы, мм |
| 4,8 х 29 | 2.30 | 1.30 | 18.00 |
| 4,8 х 38 | 2.30 | 1.30 | 27.00 |
| 4,8 х 50 | 2.30 | 1.30 | 40.00 |
| 4,8 х 60 | 2.30 | 1.30 | 50.00 |
| 4,8 х 70 | 2.30 | 1.30 | 60.00 |
| 4,8 х 80 | 2.30 | 1.30 | 70.00 |
| 5,5 х 19 | 5.30 | 1.30 | 6.00 |
| 5,5 х 25 | 5.30 | 1.30 | 12.00 |
| 5,5 х 32 | 5.30 | 1.30 | 18.00 |
| 5,5 х 38 | 5.30 | 1.30 | 24.00 |
| 5,5 х 51 | 5.30 | 1.30 | 37.00 |
| 5,5 х 64 | 5.30 | 1.30 | 48.00 |
| 5,5 х 76 | 5.30 | 1.30 | 60.00 |
| 6,3 х 19 | 6.50 | 1.30 | 4.00 |
| 6,3 х 25 | 6.50 | 1.30 | 10.00 |
| 6,3 х 32 | 6.50 | 1.30 | 16.00 |
| 6,3 х 38 | 6.50 | 1.30 | 22.00 |
| 6,3 х 50 | 6.50 | 1.30 | 36.00 |
| 6,3 х 60 | 6.50 | 1.30 | 44.00 |
| 6,3 х 80 | 6.50 | 1.30 | 64.00 |
| 6,3 х 100 | 6.50 | 1.30 | 84.00 |
| 6,3 х 130 | 6.50 | 1.30 | 115.00 |
| 6,3 х 150 | 6.50 | 1.30 | 135.00 |
| 6,3 х 175 | 6.50 | 1.30 | 160.00 |
Выбор для применения соответствующего сверла самореза
| Сверло №1 |
|
|
Сверло №2 |
|
|
| D | F | G | D | F | G |
| диаметр | мин. толщина | макс. способность | диаметр | мин. толщина | макс. способность |
| самореза, мм | профиля. Мм | сверления, мм | самореза, мм | профиля. Мм | сверления, мм |
| 4,8 | 0,90 | 2,30 | 3,6 | 0,90 | 2,50 |
| 5,5 | 0,90 | 2,30 | 4,2 | 0,90 | 2,51 |
| 6,3 | 0,90 | 2,30 | 4,8 | 1,30 | 2,80 |
| 8,0 | 0,90 | 2,50 | 5,50 | 1,30 | 3,60 |
| Сверло №3 |
|
|
Сверло №4 |
|
|
| D | F | G | D | F | G |
| диаметр | мин.толщина | макс. способность | диаметр | мин. толщина | макс. способность |
| самореза, мм | профиля. Мм | сверления, мм | самореза, мм | профиля. Мм | сверления, мм |
| 4,2 | 1,30 | 3,60 | 5,5 | 4,00 | 8,00 |
| 4,80 | 1,30 | 4,50 |
- |
- |
- |
| 5,5 | 1,30 | 5,30 |
- |
- |
- |
| 6,3 | 1,30 | 6,50 |
- |
- |
- |

ВЫРЫВАЮЩАЯ СИЛА, кН
К, Толщина стального основания, кН
| Диамeтр самореза , мм | сверло | 0.46 | 0.61 | 0.76 | 0.91 | 1,22 | 1,52 | 1,91 | 2,67 | 4,17 | 5,69 | 6,35 |
| 4,2 | №2 | 0.543 | 0.872 | 1.192 | 1.339 | 2.197 | 3.14 | 4.279 | 6.944 | - | - |
- |
| 4,2 | №3 | 0.547 | 0.863 | 1.076 | 1.281 | 2.104 | 2.963 | 4.061 | 6.348 | 10.186 | - |
- |
| 4,8 | №1 | 0.672 | 1.085 | 1.397 | 1.601 | 2.527 | 3.688 | 4.955 | 8.002 | - | - |
- |
| 4,8 | №2 | 0.596 | 0.965 | 1.223 | 1.65 | 2.447 | 3.501 | 4.608 | 7.366 | - | - |
- |
| 4,8 | №3 | 0.565 | 0.939 | 1.197 | 1.343 | 2.233 | 3.163 | 4.315 | 6.57 | 9.252 | 11.632 |
- |
| 5,5 | №1 | 0.716 | 1.174 | 1.517 | 1.748 | 2.900 | 4.052 | 5.614 | 8.683 | - | - |
- |
| 5,5 | №2 | 0.707 | 1.094 | 1.272 | 1.681 | 2.705 | 3.785 | 5.267 | 8.269 | 11.436 | 15.671 |
- |
| 5,5 | №3 | 0.645 | 0.952 | 1.299 | 1.530 | 2.464 | 3.381 | 4.742 | 7.268 | 10.778 | 13.349 |
- |
| 5,5 | № 4 | - | - | - | - | 2.215 | 3.114 | 4.399 | 6.828 | 10.871 | 15.515 | 17.112 |
| 5,5 | №5 | - | - | - | - | 2.180 | 3.123 | 4.075 | 6.806 | 9.831 | 16.476 | 17.802 |
| 6,3 | №1 | 0.939 | 1.477 | 1.917 | 2.513 | 3.572 | 5.133 | - | - | - | - | - |
| 6,3 | №2 | 0.752 | 1.192 | 1.410 | 1.926 | 2.882 | 4.115 | 5.138 | - | - | 20.889 | - |
| 6,3 | №3 | 0.641 | 1.041 | 1.317 | 1.5 52 | 2.727 | 3.928 | 5.107 | 8.278 | 10.716 | 20.253 | 22.401 |

СРЕЗАЮЩАЯ СИЛА, кН
К, Толщина стального основания, кН
| Диамeтр самореза , мм | сверло | 0.46 | 0.61 | 0.76 | 0.91 | 1.22 | 1.52 | 1.91 | 2.67 | 4.17 | 5.69 | 6.35 |
| 4,2 | №2 | 1,321 | 2,22 | 2,504 | 3,305 | 4,728 | 4,809 |
- |
- | - | - | - |
| 4,2 | №3 | - | - | - | 3.261 | 4.862 | 5.396 | 5.413 | - | - | - | - |
| 48 | №2 | 1.401 | 2.14 | 2.633 | 3.705 | 5.378 | 5.654 | - | - | - | - | - |
| 4,8 | №3 | - | - | - | 3.252 | 5.645 | 6.864 | 6.917 | - | - | - | - |
| 5,5 | №1 | 1.935 | 3.14 | 3.363 | 4.542 | 6.472 | - | - | - | - | - | - |
| 5,5 | №2 | 1.637 | 2.682 | 2.785 | 4.008 | 6.107 | 7.833 | 9.524 | - | - | - | - |
| 5,5 | №3 | - | - | - | 3.434 | 6.054 | 7.219 | 8.776 | 8.847 | - | - | - |
| 5,5 | № 4 | - | - | - | - | - | - | - | 9.123 | 9.0430 | - | - |
| 5,5 | №5 | - | - | - | - | - | - | - | - | 12.023 | 12.112 | 12.299 |
| 6,3 | №1 | 2.286 | 3.79 | 3.95 | 5.547 | 7.860 | - | - | - | - | - | - |
| 6,3 | №3 | - | - | - | 4.150 | 6.428 | 9.355 | 11.504 | 11.081 | 12.557 | - | - |