Гайка шестигранная
ГАЙКА ШЕСТИГРАННАЯ (DIN 934, ГОСТ-5915-70)
Гайка — это крепёжное, металлическое изделие, с резьбовым отверстием в центре и специальным конструктивным элементом для передачи крутящего момента посредством гаечных ключей, служащих для их закручивания. Любые ремонтные работы в промышленном производстве, строительство зданий, производятся с использованием гайки.
Колпачковая гайка (сферическая с глухим резьбовым отверстием) используется в качестве декоративной, с успехом применяется в мебельной промышленности.
Гайка-барашек затягивается вручную и имеет плоские выступающие элементы или лепестки, для закручивания. Применяется так же в декоративных целяхи сборки мебели.
Гайки с продольными шлицами и корончатые имеют прорези или отверстия для контровочной проволоки или шплинта, для прочного удержания в заданном положении. Это такие же шестигранные изделия, у которых, однако, верхняя часть представлена в виде короны. Это делается для дополнительного крепления с помощью проволоки или шплинта. Таким образом, корончатая гайка не слетит во время различных динамических и вибро нагрузок, и такое резьбовое соединение никогда не ослабнет.
Стопорные или самоконтрящиеся гайки рассчитаны на предотвращение ослабления затяжки соединения в условиях вибрации, имеют вкладыш из нейлона или другого пластического материала для увеличения сопротивления трения при кручении.
Грамотное использование в болтовых соединениях гаек, предусматривает использование шайбы. Шайба подкладывают под головку болта и под гайку, тем самым позволяя снизить концентрацию напряжения в местах соприкосновения головки болта и гайки с непосредственно скрепляемой конструкцией, позволяет предохранять конструкцию от царапин и смятий, а также равномерного распределения усилия сжатия вокруг отверстие конструкции в которую вставлен болт. Увеличение числа витков резьбы в гайке приводит к увеличению её высоты, но заметного увеличения надёжности гайки при этом не происходит.

ТЕХНИЧЕСКИЕ ХАРАКТЕРИСТИКИ
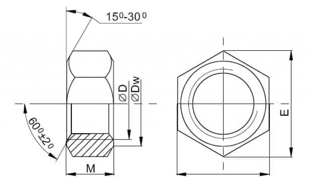
Р — это шаг резьбы.
| D номинал. диаметр, мм | МЗ | М4 | М5 | М6 | М8 | М10 | М12 | М14 | М16 | М20 |
| Р, мм | 0,5 | 0,70 | 0,80 | 1,00 | 1,25 | 1,50 | 1,75 | 2,00 | 2,00 | 2,50 |
| Dw, мм | 4,50 | 5,80 | 6,80 | 8,80 | 11,30 | 15,30 | 17,20 | 20,20 | 22,20 | 28,20 |
| Е, мм | 6,01 | 7,66 | 8,79 | 11,05 | 14,38 | 18,90 | 21,10 | 24,49 | 26,75 | 32,95 |
| М, мм | 2,40 | 3,20 | 4,00 | 5,00 | 6,50 | 8,00 | 10,00 | 11,00 | 13,00 | 16,00 |
| S, мм | 5,32-5,50 | 6,78-7,00 | 7,78-8,00 | 9,78-10,00 | 12,73-13,00 | 16,73-17,00 | 18,67-19,00 | 21,67-22,00 | 23,67 - 24,00 | 29,16-30,00 |
| и номинальный диаметр, мм | М24 | М27 | М30 | М36 | М48 |
| Р, мм | 3,00 | 3,00 | 3,50 | 4,00 | 5,00 |
| Dw, мм | 33,20 | 38,00 | 42,70 | 51,10 | 70,10 |
| Е, мм | 39,55 | 45,20 | 50,85 | 60,79 | 83,40 |
| М, мм | 19,00 | 22,00 | 24,00 | 29,00 | 38,00 |
| S, мм | 35,00-36,00 | 40,00-41,00 | 45,00-46,00 | 53,80-55,00 | 73,80 - 75,00 |
| D номинальный диаметр, мм | МЗ | М4 | М5 | М6 | М8 | М10 | М12 | М14 | М16 | М20 |
| вес 1000 штук, кг | 0,3 | 0,7 | 1,0 | 2,2 | 4,6 | 10,3 | 15,3 | 22,5 | 30,0 | 56,0 |
| D номинальный диаметр, мм | М24 | М27 | М30 | М36 | М48 |
| вес 1000 штук, кг | 98,9 | 145,0 | 203,0 | 342,0 | 870,0 |