Анкер забиваемый
Это наиболее простой вид анкера, оснащенного внутренней резьбой. Он используется для монтажа конструкций на бетонную, кирпичную или каменную основу. Устанавливается такой анкер в предварительно просверленное отверстие определенного диаметра и глубины, предварительно тщательно очищенное. После того, как анкер установлен в соответствующее отверстие, он разжимается с помощью определенного приспособления (специального инструмента), и тем самым обеспечивает необходимую степень надежности фиксации. После этого крепежная деталь соответствующего размера ввинчивается в анкер.

ТЕХНИЧЕСКИЕ ХАРАКТЕРИСТИКИ
|
|
А | В | D | L | Ls | Е | Н | Do |
|
|
|
|
длина | внешний диаметр | длина | длина | глубина | глубина | диаметр | вес 1000 |
| Обозначение | резьба | резьбы, мм | анкера, мм | анкера, мм | болта, мм | завинчивания, мм | анкеровки, мм | сверла, мм | штук, кг |
| 6x25 | М6 | 11,00 | 8,00 | 25,00 | G + E | 6,00-11,00 | 25,00 | 8,00 | 6,80 |
| 8x30 | М8 | 13,00 | 10,00 | 30,00 | G + E | 8,00-13,00 | 30,00 | 10,00 | 12,20 |
| 10x40 | М10 | 15,00 | 12,00 | 40,00 | G + E | 10,00-15,00 | 40,00 | 12,00 | 22,80 |
| 12x50 | М12 | 19,00 | 15,00 | 50,00 | G + E | 12,00-19,00 | 50,00 | 15,00 | 46,30 |
| 16x65 | М16 | 25,00 | 20,00 | 65,00 | G + E | 16,00-25,00 | 65,00 | 20,00 | 96,80 |
| 20x80 | М20 | 33,00 | 25,00 | 80,00 | G + E | 20,00-33,00 | 80,00 | 25,00 | 192,00 |

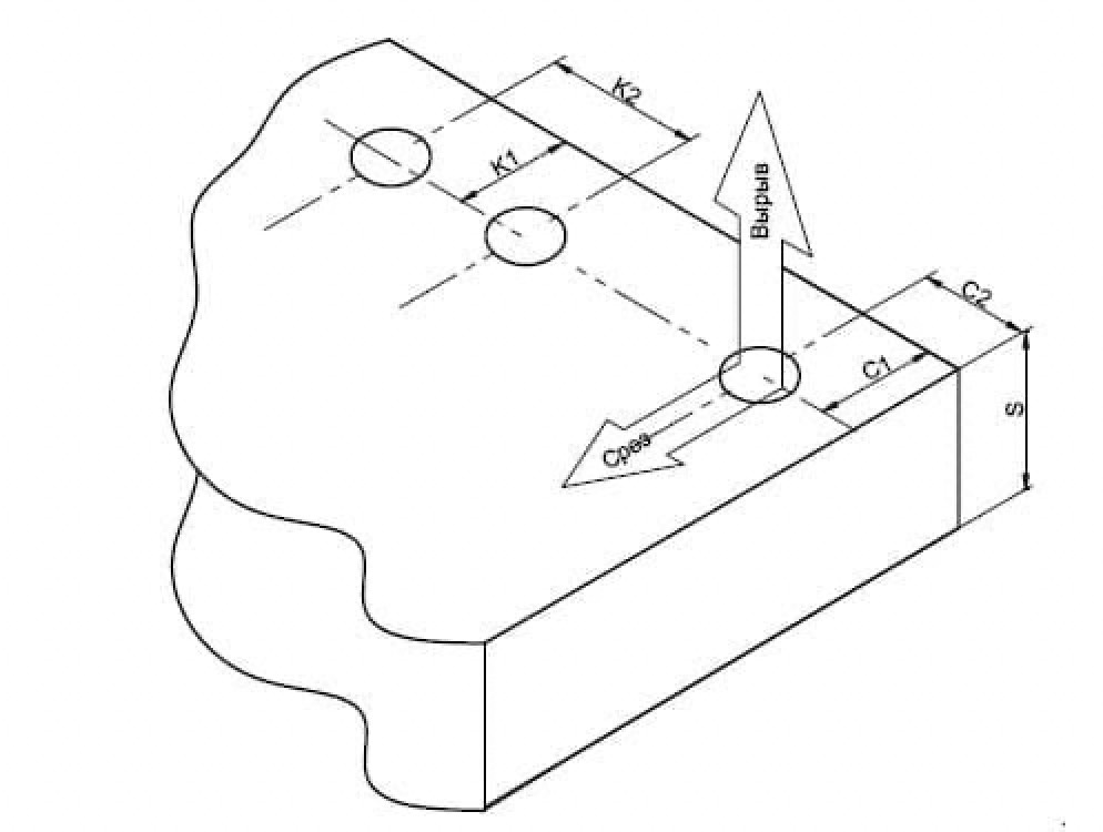
ТЕХНИЧЕСКИЕ ХАРАКТЕРИСТИКИ
|
|
S | К 1 | К 2 |
|
|
|
|
|
|
|
мин. | мин. | мин. |
|
макс. | мин. | мин. |
|
|
|
толщина | краевое | межосевое |
|
допустимый | крутящий | вырывающая | срезающая |
|
|
строительного | расстояние, | расстояние, | С1+С2 | изгибающий | момент при | сила, кН | сила, кН |
| Обозначение | элемента, мм. | мм. | мм |
|
момент, Нм * | анкеровке, Нм | бетон В25 | бетон В25 |
| 6x25 | 38,0 | 50,0 | 100,0 | 225,0 | 5,1 | 4,0 | 1,3 | 1,5 |
| 8x30 | 45,0 | 60,0 | 120,0 | 270,0 | 12,5 | 8,0 | 1,8 | 2,4 |
| 10x40 | 60,0 | 80,0 | 160,0 | 360,0 | 17,8 | 15,0 | 2,9 | 2,5 |
| 12x50 | 75,0 | 100,0 | 200,0 | 450,0 | 36,8 | 35,0 | 4,3 | 3,5 |
| 16x65 | 98,0 | 130,0 | 260,0 | 585,0 | 74,3 | 60,0 | 5,8 | 7,0 |
| 20x80 | 120,0 | 160,0 | 320,0 | 720,0 | 140,6 | 120,0 | 9,4 | 8,6 |
* При использованиим болта класса прочности 8,8